【「シールドトンネルの拡幅構造、シールドトンネルセグメント及びシールドトンネルの拡幅方法」との名称の発明に係る特許の文言侵害・均等侵害を否定した事例】
投稿日:2026年4月22日 |
![]() 著者:弁護士 木村 広行 *本記事は、筆者の個人的見解であり、当事務所を含め、筆者が所属する如何なる団体の見解も表示するものではありません。 |
参照条文/キーワード/論点 |
特許法70条/均等論/第1要件/第5要件/本質的部分/意識的除外 |
ポイント
※ 本判決は、特許請求の範囲に記載の「仮補填ケース中に充填材を充填する」との文言について、用語の意味、明細書の記載を踏まえて、「仮補填ケース」と「充填材」とは、物理的に互いに別個独立した部材であるとの解釈を導いたうえ、本件対象製品のフランジ、推力伝達フランジ、側面プレート、端面プレート、縦リブ及びスキンプレートを溶接して一体化した単一の部材である保護ピースは、「仮補填ケース」と「充填材」に相当する構成を有するものとはいえないと判断した。 |
判決概要 |
| 裁判所 | 東京地方裁判所第40部 |
| 判決言渡日 | 令和8年1月15日 |
| 事件番号 | 令和6年(ワ)第70460号 |
| 事件名 | 特許権侵害損害賠償等請求事件 |
| 裁判長裁判官
裁判官 裁判官 |
中島 基至
武富 可南 小橋 陽一郎 |
事案の概要
1 本件特許権
特許番号 特許第4782704号
発明の名称 シールドトンネルの拡幅構造、シールドトンネルセグメント及びシールドトンネルの拡幅方法
出願日 平成19年1月9日
登録日 平成23年7月15日
2 本件発明1(分説は本判決による)
1A シールドトンネルを構成するセグメント本体の外面に仮補填ケースを着脱自在に取り付けた拡幅セグメント接合用凹部が形成され、
1B 前記仮補填ケース中に充填材を充填することにより拡幅セグメント接合用凹部を仮に補填できるようにしたことを特徴とする
1C シールドトンネルセグメント。
3 本件特許権の明細書、図面の記載事項抜粋
【0035】
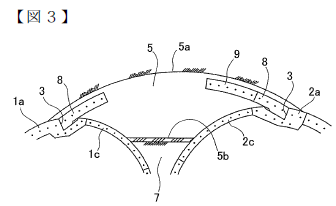
実施例1は、並行する2つのシールドトンネル間を拡幅する場合である。
図1は、2つの単円のシールドトンネル1・2が並行し、そのぞれぞれのセングメントの組み立ては完了していて、これからシールドトンネル1・2間を拡幅しようとしている状態である。
【0036】
各シールドトンネル1・2の上部及び下部のそれぞれには、通常のセグメントに代えて、外面に拡幅セグメント接合用凹部3(以下、凹部3と略記する)を有するセグメント1a・1b及び2a・2bが使用され、それぞれの凹部3は仮補填部材4で補填され、これらセグメント1a・1b及び2a・2bの外面も他のセグメントの外面と連続する円周面となっている。これらセグメント1a・1b及び2a・2bでは、外面に凹部3を形成しているため、凹部形成部分の強度が他の部分より弱くなるが、その部分の厚さを裏側に厚くすることで補強している。
【0038】 図2は、拡幅のために、両シールドトンネル1・2間の上部と下部を掘削し、上部掘削空間5及び下部掘削空間6を形成した状態で、仮補填部材4は撤去されて、上部のセグメント1a・2aの凹部3は上部掘削空間5内に開口し、下部のセグメント1b・2bの凹部3は下部掘削空間6内に開口している。上部掘削空間5の天井部5a及び下部掘削空間6の底部6bは薬液注入等により地盤改良され、上部掘削空間5の底部5bは、均しコンクリート打設又は吹付コンクリートにより補強され、下部掘削空間6の天井部6aは、矢板設置又は吹付コンクリートにより補強されているが、これら上下の補強部分の間の土砂7、つまり、両シールドトンネル1・2相互の隣接するセグメント(凹部3が無いセグメント)の間の土砂7は残してある。
【0039】
図3は、上部掘削空間5内において、上部拡幅覆工を両方のシールドトンネル1・2から施工していく施工例を示す。各シールドトンネル1・2の上部のセグメント1a・2aのそれぞれにつき、その凹部3に拡幅覆工用の拡幅セグメント8の端部を嵌合させて、各セグメント1a・2aにこの拡幅セグメント8を例えばボルトを用いて接合した後、他の拡幅セグメント9を順次継ぎ足し接合する。

【0044】
次に、凹部3を有するセグメント1a・1b及び2a・2bの具体例について、そのなかの一つのセグメント2aを代表として説明する。
【0045】
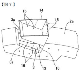
図7に示すように、セグメント2aは、全体鋼製の鋼製セグメント、又は鋼製のセグメント本体の中空部にコンクリート詰めしたいわゆる合成セグメントで、その凹部3は、その鋼製部分を断面三角形に欠如したようにしてセグメント2aの外面に形成されている。凹部3の底面は、その両側部分3aを残して底抜けとなり、セグメント2aの内面側の開口部13へ通じている。
【0046】
この凹部3を補填しておくため、上面が開口した金属製(例えば鋼製)の仮補填ケース14が用意されている。この仮補填ケース14は凹部3に合致する箱状で、図8に示すように凹部3に着脱自在に嵌合させることができ、これに設けられたボルト孔15を凹部3側のボルト孔16に合わせてボルト(図示せず)で止めるようになっている。この後、図9に示すように、仮補填ケース14内にコンクリート等の充填材17を充填する。その充填したものが仮補填部材4となって凹部3を仮に補填することになる。

4 本件対象製品の構成(本判決の認定による)
1a シールドトンネルを構成するセグメント本体の外面に保護ピースを着脱自在に取り付けた拡幅セグメント接合用凹部が形成され、
1b 前記保護ピースは、底面に推力伝達フランジを含むフランジを有し、内部に縦リブが溶接され、外側縁部にスキンプレートが溶接されていることにより拡幅セグメント接合用凹部を仮に補填できるようになっている
1c シールドトンネルセグメント。
---------------------(以下、本判決別紙「対象製品目録」より引用)---------------------
(以下、本判決別紙「対象製品目録」より引用)
1 対象製品は、以下の設計図面のうち水色囲みの部材(以下「D型セグメント」という。)と赤囲みの部材(以下「保護ピース」という。)の2つの部材から構成される。

2 D型セグメントは、スキンプレート、主桁、継手板及び縦リブによって構成される。

3 保護ピースは、スキンプレート、側面プレート、端部プレート、フランジ及び推力伝達フランジ並びに縦リブという名称の各鋼板を溶接することで構成される。

5 D型セグメントの端部の切り欠き部に保護ピースを接合させると、スキンプレートが円周状になる。
※なお、上記2及び3において添付した各図面は、説明の便宜上添付したものであり、対象製品の範囲を限定するものではない。
---------------------(引用終わり)--------------------------------------------------
4 拒絶理由通知における主引例(特開2006-307478号公報)の記載事項抜粋
【0037】・・・既設トンネルセグメント35側には、1アーチユニットのセグメント5との接合箇所となる外周面に予め凹部36を形成し、この凹部36に、切削可能な充填材料(例えば、ウレタンフォームや発泡スチロールなど)37を充填してセグメント外径を維持しておく。・・・
【0038】
また、図22に示すように、この凹部36内に1アーチユニットのセグメント6の端面を当て、ここで1アーチユニットのセグメント5と既設トンネルセグメント35とをボルト38で緊締して接合する。このとき、凹部36はその接合性を高める。

争点
争点2-1(本件発明1についての均等侵害の成否)
(その他の争点は省略)
判旨
【争点1-2】
1 「仮補填ケース中に充填材を充填する」(構成要件1B)の意義(強調は筆者、以下同じ)
本件発明1の特許請求の範囲の記載によれば、構成要件1Bは、「仮補填ケース」という文言を使用し、「仮補填ケース」の中に「充填材を充填する」旨を規定している。そして、証拠(甲10、乙19、21)及び弁論の全趣旨によれば、「充填」という用語は、一般に「物を詰めて欠けた所や空所を満たすこと」を意味するものといえ、「材」とは、「原料となるもの」を意味するものと認められる。また、構成要件1Aは、「仮補填ケース」を「着脱自在に取り付けた」と規定し、本件明細書には、「…上面が開口した金属製(例えば鋼製)の仮補填ケース14が用意されている。…仮補填ケース14内にコンクリート等の充填材17を充填する。」(【0046】)と記載されている。
上記構成要件及び本件明細書の各記載によれば、「仮補填ケース」とは「充填材」を「充填する」対象となる容器を、「充填材」とは隙間や空所を詰める原料を、それぞれ意味するものと解され、「仮補填ケース」と「充填材」とは、物理的に互いに別個独立した部材であると解するのが相当である。」
2 本件対象製品の充足性
これを本件対象製品についてみると、証拠(乙37、38)及び弁論の全趣旨によれば、本件対象製品の保護ピースは、フランジ、推力伝達フランジ、側面プレート、端面プレート、縦リブ及びスキンプレートを溶接して一体化した単一の部材であることが認められる。
そうすると、上記保護ピースにおいて、これらの部材が、物理的に互いに別個独立した部材であると認めることはできず、
上記保護ピースは、「仮補填ケース」と「充填材」に相当する構成を有するものとはいえないと認めるのが相当である。
したがって、本件対象製品においては、「仮補填ケース」と「充填材」を有するものと認めることはできず、構成要件1Bを充足しないものといえる。
3 原告の主張について
これに対し、原告は、本件発明1は、「仮補填ケース」に「充填材を充填」することで、トンネルの支保やシールドマシンのジャッキへの反力の提供といった構造力学上の機能と施工上の機能を奏するものであるところ、本件対象製品の保護ピースは、鋼板で構成される底部、端部、側部及びスキンプレート並びに両側部の内部を連結する2枚の縦リブからなり、このような構造によりトンネルの支保やシールドマシンのジャッキへの反力の提供といった構造力学上の機能と施工上の機能を奏するものであるから、本件対象製品の保護ピースのうち、底面、端面及び両側面で形成される部分は「仮補填ケース」(構成要件1B)に該当し、スキンプレートと縦リブは「充填材」(構成要件1B)に該当する旨主張する。
しかしながら、原告がいうトンネルの支保やシールドマシンのジャッキ反力を支えるといった構造力学上及び施工上の機能については、本件特許請求の範囲の記載及び本件明細書に記載も示唆もないものであり、そのような記載も示唆もない構造力学上及び施工上の機能を奏することを前提として、「仮補填ケース中に充填材を充填する」という構成を解釈するのは相当ではない。
そして、本件発明1の構成要件及び本件明細書の各記載によれば、「仮補填ケース」と「充填材」とは、物理的に互いに別個独立した部材であると解するのが相当であることは、前記において説示したとおりであり、本件対象製品における保護ピースは、溶接により一体化された単一の部材であるから、その一部であるスキンプレートと縦リブのみを切り出して物理的に互いに別個独立した部材であるということはできない。したがって、原告の主張は、採用することができない。」
【争点2-1】
1 原告は、本件対象製品の保護ピースが、「仮補填ケース中に充填材を充填」(構成要件1B)という文言を充足しないとしても、保護ピースの底部、端部及び両側部で形成される部分は、縦リブで両側部の間を詰めスキンプレートで外面をふさいで円周面とする構成として、「仮補填ケース中に充填材を充填」する構成と均等なものであり、均等侵害に当たる旨主張する。そこで、本件対象製品の均等侵害の成否について検討する。
2 均等侵害の成立要件
特許請求の範囲に記載された構成中に相手方が製造等をする製品又は用いる方法(以下「対象製品等」という。)と異なる部分が存する場合であっても、⑴同部分が特許発明の本質的部分ではなく、⑵同部分を対象製品等におけるものと置き換えても、特許発明の目的を達することができ、同一の作用効果を奏するものであって、⑶上記のように置き換えることに、当該発明の属する技術の分野における通常の知識を有する者が、対象製品等の製造等の時点において容易に想到することができたものであり、⑷対象製品等が、特許発明の特許出願時における公知技術と同一又は当業者がこれから同出願時に容易に推考できたものではなく、かつ、⑸対象製品等が特許発明の特許出願手続において特許請求の範囲から意識的に除外されたものに当たるなどの特段の事情もないときは、同対象製品等は、特許請求の範囲に記載された構成と均等なものとして、特許発明の技術的範囲に属するものと解するのが相当である(最高裁平成6年(オ)第1083号同10年2月24日第三小法廷判決・民集52巻1号113頁参照。以下、上記⑴ないし⑸の要件を、順次「第1要件」ないし「第5要件」という。)。
3 第1要件について
ア 本質的部分の認定
特許発明における本質的部分とは、当該特許発明の特許請求の範囲の記載のうち、従来技術に見られない特有の技術的思想を構成する特徴的部分であると解すべきであり、上記本質的部分は、特許請求の範囲及び明細書の記載に基づいて、特許発明の課題及び解決手段とその効果を把握した上で、特許発明の特許請求の範囲の記載のうち、従来技術に見られない特有の技術的思想を構成する特徴的部分が何であるかを確定することによって認定されるべきである。すなわち、特許発明の実質的価値は、その技術分野における従来技術と比較した貢献の程度に応じて定められることからすれば、特許発明の本質的部分は、特許請求の範囲及び明細書の記載、特に明細書記載の従来技術との比較から認定されるべきである。
ただし、明細書に従来技術が解決できなかった課題として記載されているところが、出願時の従来技術に照らして客観的に見て不十分な場合には、明細書に記載されていない従来技術も参酌して、当該特許発明の従来技術に見られない特有の技術的思想を構成する特徴的部分が認定されるべきである(知財高裁平成27年(ネ)第10014号同28年3月25日特別部判決参照)。
イ 従来技術
前記前提事実⑻及び前記1の本件明細書の記載に加え、証拠(甲2ないし6、13、乙15)及び弁論の全趣旨によれば、原告は、本件明細書において、特開2006-183352号公報(甲13)に記載された技術を従来技術(特許文献1)として、発明の課題を、「特殊なシールド機を使って拡幅のためのセグメントを地盤に押し出すようなことがなく、しかも、切り拡げ部のセグメントを取り外す前に、拡幅のための新しいトンネル覆工を設置することにより、トンネルの変形を抑制しつつ、拡大したトンネルを容易に完成することができるようにすることにある。」(【0005】)と記載して本件特許の出願をしたこと、特許庁審査官は、原告に対し、上記出願について、一部の請求項を除き、
本件拒絶引用文献(甲5)に基づいて新規性及び進歩性を欠く旨の拒絶理由の通知をしたこと、これを受けて原告は、新たな請求項1及び5に「仮補填ケース中に充填材を充填した仮補填部材を着脱自在にして拡幅セグメント接合用凹部に取り付けたもの」を必要構成として取り入れた手続補正を行ったこと、特許庁審査官は、補正後の出願について特許査定をしたこと、以上の事実が認められる。
上記の出願経過に鑑みれば、本件明細書に記載された従来技術(特許文献1)は、出願時の従来技術に照らして客観的に見て不十分であったといえるから、本件発明1の本質的部分(従来技術に見られない特有の技術思想を構成する特徴的部分)を認定するに当たっては、出願時の拒絶理由の根拠として引用された本件拒絶引用文献(甲5)が開示する従来技術も参酌するのが相当である。そして、証拠(甲5)及び弁論の全趣旨によれば、本件拒絶引用文献(甲5)には、「既設トンネルセグメント35側には、1アーチユニットのセグメント5との接合箇所となる外周面に予め凹部36を形成し、この凹部36に、切削可能な充填材料(例えば、ウレタンフォームや発泡スチロールなど)37を充填してセグメント外径を維持しておく。そして、この凹部36を支保工掘進ガ【図21】イドとして、これに沿って上記のようにアーチ形掘削機3を掘進させながらアーチ形支保工の構築を行う。」(【0037】)、「…この凹部36内に1アーチユニットのセグメント6の端面を当て、ここで1アーチユニットのセグメント5と既設トンネルセグメント35とをボルト38で緊締して接合する。このとき、凹部36はその接合性を高める」(【0038】)との記載があることが認められる。
以上のとおり、本件拒絶引用文献が開示するところによれば、2本のシールドトンネル間にアーチ形の支保工を構築する方法において、既設トンネルのセグメントに凹部を形成し、切削可能な充填材料で凹部を仮に充填しておくことは、従来技術として公知であったものと認められる。
ウ 本件発明の本質的部分
前記1の本件明細書の記載に加え、前記ア及びイの出願経過及び拒絶引例の内容に鑑みると、本件発明1は、本件拒絶引用文献の記載を踏まえ、セグメントにアーチ形支保工のセグメントとの接合箇所となる接合用凹部に「仮補填ケース」が「着脱自在に取り付け」られ、かつ、「仮補填ケース中に充填材を充填する」構成を追加したものであるのに対し、拒絶引例においては、仮補填部材が、切削可能な充填材料を充填したものであって、「仮補填ケース中に充填材を充填した」ものではなく、「着脱自在に取り付けた」ものでもない点で相違する。そうすると、本件発明1において従来技術に見られない特有の技術的思想を構成する特徴的部分は、追加された上記構成であるといえるから、本件発明1の本質的部分は、①「仮補填ケースを着脱自在に取り付けた」(構成要件1A)、②「前記仮補填ケース中に充填材を充填する」(構成要件1B)という、一連一体の構成にあるものと認めるのが相当である。
これを本件対象製品についてみると、前記2及び3のとおり、本件対象製品の保護ピースは、本件発明1の「仮補填ケース」と「充填材」に相当する構成を備えていないものであるから、本件発明1の本質的部分を備えるものとはいえない。
したがって、本件対象製品は、均等侵害に係る第1要件を充足しないものといえる。
これに対し、原告は、本件発明1の本質的部分は、シールドトンネルセグメントの構造力学上及び施工上の機能を提供する「着脱自在な仮補填部材によって拡幅セグメント接合用凹部を仮に補填しておく点」にあると主張し、「充填材を充填する」(構成要件1B)という構成については、本件明細書上、上記構成によって「容易に補填」できることの記載はないから、本質的部分ではない旨主張する。しかしながら、本件発明1における「拡幅セグメント接合用凹部を仮に補填」(構成要件1B)するという構成は、上記①の構成に加え、上記②の構成をもって実現されるものであるから、上記①と上記②の構成は一連一体のものであり、これらを切り離してその一部のみが本質的部分であると評価することは相当ではない。したがって、原告の主張は、採用することができない。
4 第5要件について
前記前提事実⑻に加え、証拠(甲2ないし6、乙15)及び弁論の全趣旨によれば、本件特許の出願当初の特許請求の範囲の記載においては、請求項8に、「仮補填ケース」の「中に充填材を充填する」ことにより「拡幅セグメント接合用凹部を仮に補填できるようにした」との事項が記載されていたところ、前記⑶イのとおり、原告は、本件拒絶引用文献(甲5)に基づく新規性及び進歩性の拒絶理由を解消するために、出願時の請求項8にある上記の構成を新たな請求項1の必要な構成として取り入れて、手続補正を行い、特許査定を受けたことが認められる。そうすると、上記認定に係る本件特許の出願経過を踏まえると、原告は、上記構成以外の具体的構成については、特許請求の範囲から意識的に除外したものと認めるのが相当である。
したがって、本件対象製品は、均等侵害に係る第5要件を充足しないものといえる。
5 小括
以上によれば、その余の均等の要件を検討するまでもなく、本件対象製品が、本件発明1の均等侵害に当たるという原告の主張は、採用することができない。
解説/検討
(文言侵害について)
本件では、本件対象製品の保護ピース(フランジ、推力伝達フランジ、側面プレート、端面プレート、縦リブ及びスキンプレートを溶接して一体化した単一の部材)との関係で、「仮補填ケース中に充填材を充填する」(構成要件1B)を充足するか否かが争われた。
この点、本判決は、本件発明1の「仮補填ケース」と「充填材」とは、物理的に互いに別個独立した部材であると解釈して、溶接により一体化した単一の部材である保護ピースについて、物理的に互いに別個独立した部材であると認めることはできないとして、文言上、その充足性を否定したものである。
確かに、「仮補填ケース」と「充填材」が、もともと、物理的に互いに別個独立した部材であるというのは、その文言から素直に理解できるところではある。
しかし、本件発明1では、「仮補填ケース中に充填材を充填する」と特定されているのみであるから、「仮補填ケース中に充填材を充填」したあとに、それが依然として物理的に互いに別個独立した部材として存在することまでは特定されていないとも考えられ、保護ピースが、フランジ、推力伝達フランジ、側面プレート、端面プレート、縦リブ及びスキンプレートを溶接して一体化した単一の部材であることを理由として、直ちに「仮補填ケース中に充填材を充填する」の非充足を結論付けることはやや説得力に欠けるように思われる。
この点、本判決は、「充填」の意味を、一般に、「物を詰めて欠けた所や空所を満たすこと」と認定しているのであるから、原告が「充填材」に該当すると主張するスキンプレートと縦リブが、物を詰めて欠けた所や空所を満たすものであるか否かを判断する方が理解しやすいようにも考えられる。
(均等論第1要件について)
本判決は、マキサカルシトール事件知財高裁特別部判決(知財高判平成28年3月25日・平成27年(ネ)第10014号)を参照し、本件明細書に記載された従来技術は、出願時の従来技術に照らして客観的に見て不十分であるとして、本件発明1の本質的部分を認定するに当たり、出願時の拒絶理由の根拠として引用された本件拒絶引用文献(甲5)を参酌し、当該引用文献に記載の事項との相違に係る部分を特徴的部分として認定しており、特徴的部分の認定の一例として参考になる。
ただ、前掲知財高判平成28年3月25日では、「①従来技術と比較して特許発明の貢献の程度が大きいと評価される場合には,特許請求の範囲の記載の一部について,これを上位概念化したものとして認定され(後記ウ及びエのとおり,訂正発明はそのような例である。),②従来技術と比較して特許発明の貢献の程度がそれ程大きくないと評価される場合には,特許請求の範囲の記載とほぼ同義のものとして認定されると解される。・・・また、第1要件の判断,すなわち対象製品等との相違部分が非本質的部分であるかどうかを判断する際には,.特許請求の範囲に記載された各構成要件を本質的部分と非本質的部分に分けた上で,本質的部分に当たる構成要件については一切均等を認めないと解するのではなく,上記のとおり確定される特許発明の本質的部分を対象製品等が共通に備えているかどうかを判断し,これを備えていると認められる場合には,相違部分は本質的部分ではないと判断すべき」(強調は筆者)とされている。
この点、本判決は、従来技術と比較して特許発明の貢献の程度を検討し、上位概念化の可否を判断して本質的部分を認定するのではなく、1つの引用文献の記載事項との相違する構成要件から、そのまま特徴的部分を認定しているように見受けられる点には留意が必要であろう。
(均等論第5要件について)
本判決は、審査経過において、原告は、本件拒絶引用文献(甲5)に基づく新規性欠如及び進歩性欠如の拒絶理由を解消するために、本件特許の出願当初の特許請求の範囲の請求項8に記載の「仮補填ケース」の「中に充填材を充填する」ことにより「拡幅セグメント接合用凹部を仮に補填できるようにした」との構成を新たな請求項1の必要な構成として取り入れて、手続補正を行い、特許査定を受けたことから、かかる構成以外の具体的構成については、特許請求の範囲から意識的に除外したものと判断した。
この点、従来、拒絶理由を回避することを目的とした減縮補正により除かれた部分が、特許請求の範囲から意識的に除外されたものとする考えが一般的であったと解され、本判決もそのような観点からの判断がなされたものと考えられる。
しかし、東京地判平成30年12月21日・平成29年(ワ)第18184号では、対象特許の審査経過における拒絶理由通知に係る引用文献との相違を出すために補正により導入した構成要件について、イ号が文言上充足しなかった事例において、意見書の内容を踏まえて、イ号に係る構成を意識的に除外したと認めることができない旨判断して均等侵害を認めている。
したがって、仮に、審査経過等における補正によって、結果的に、イ号の構成が除外されたとしても、拒絶理由等に記載の引用文献にイ号の構成が開示されているわけではない場合には、客観的、外形的にみて、イ号に係る構成が、特許請求の範囲から意識的に除外されたものに当たらない、という議論の余地もあるように考えられ、このような場合に関する裁判例の蓄積が望まれる。
