【拒絶審決に対する審決取消訴訟で、周知技術が認定されるとともに、周知技術を適用する動機付けがあると判断された事例】
投稿日:2026年4月22日 |
![]() 著者:弁理士 松野 知紘 *本記事は、筆者の個人的見解であり、当事務所を含め、筆者が所属する如何なる団体の見解も表示するものではありません。 |
参照条文/キーワード/論点 |
周知技術/動機付け |
ポイント
本判決では、審決における証拠に加え、訴訟で追加提出された証拠に基づき、周知技術が認定された。また、引用発明と周知技術は、同一の課題解決原理に属し、作用機能も同一のものであるから、周知技術を適用する動機付けも存在するとされた。 |
判決概要 |
| 裁判所 | 知的財産高等裁判所第3部 |
| 判決言渡日 | 令和8年1月27日 |
| 事件番号 | 令和7年(ケ)第10049号 |
| 事件名 | 審決取消請求事件 |
| 裁判長裁判官
裁判官 裁判官 |
中平 健
今井弘晃 水野正則 |
事案の概要
1 本願
出願番号 特願2024-40881号
審判番号 不服2025-1029号事件
発明の名称 マンコンベア
2 本願発明(符号付加)
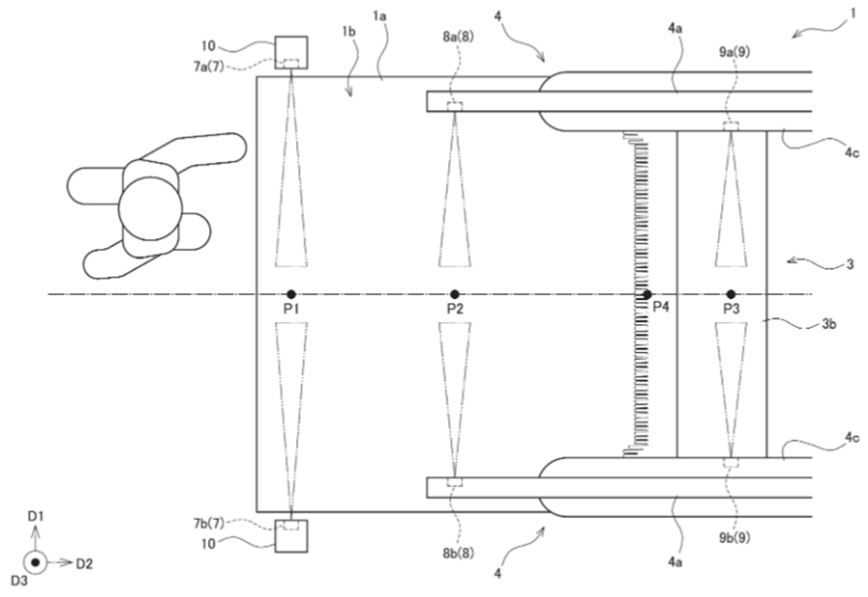
人を搬送するために走行するステップ(3b)と、
乗り部の第1定位置の人を検出する第1人検出部(7)と、
前記乗り部の第2定位置の人を検出する第2人検出部(8)と、
前記ステップ(3b)の走行速度を制御する処理装置と、を備え、
前記処理装置は、
前記第1人検出部及び前記第2人検出部の検出に基づいて、人の歩行速度を演算し、
前記ステップの走行速度が設定速度よりも速いときに前記演算した歩行速度が設定歩行速度以下である場合に、前記ステップの走行速度を設定走行速度以下へする低速制御を実行する、マンコンベア(1)。
3 本願明細書、図面の記載事項抜粋
【背景技術】
【0002】従来、例えば、マンコンベヤは、人を搬送するために走行するステップと、ステップの走行速度を制御する処理装置とを備えている(例えば、特許文献1)。ところで、例えば、高齢者や子供といった歩行速度が遅い特定人が、ステップに乗るときに、ステップの走行速度が速い場合には、当該特定人がステップに乗り難いことがある。
【発明が解決しようとする課題】
【0005】そこで、課題は、歩行速度が遅い人が一人でステップに乗る場合に、ステップの走行速度を適切な速度にすることができるマンコンベヤを提供することである。
争点
争点に関する当事者の主張
1 甲2構成の周知性
(1)原告の主張
甲2だけの証拠に基づいて、甲2構成が周知技術であるとは到底認められない。
(2)被告の主張
周知技術とは、一々例を挙げるまでもなく当業者にとって周知の技術であるということであるから、審決が周知技術であることの例を示していないからといって、そのことだけで審決を違法することはできない(東京高裁昭和55年(行ケ)第365号同60年2月28日判決)ところ、本件審決は甲2を例示しているのであるから、例示文献が一つであったことにより、ただちに本件審決の結論に誤りがあるとはいえない。
念のため、周知技術について、更に例を挙げると、乙3には・・・。また、乙4には・・・。
2 動機付け
(1)原告の主張
引用発明は、本願発明の課題と共通する引用発明の課題を、本願発明の課題解決手段とは異なる別の引用発明の課題解決手段で既に解決している。
そうすると、引用発明においては、本願発明と共通する課題が本願発明とは異なる別の課題解決手段によって既に解決されているのであるから、当該課題解決手段に換えて、甲2構成とする必要はない。
したがって、仮に、甲2構成が周知技術であり、且つ、引用発明の事項と甲2構成の事項とが共通の作用・機能を有していたとしても、引用発明に甲2構成を適用する動機付けが、当業者であっても存在しないことは明らかである。
この点につき、引用発明に、本願発明の構成を適用する動機付けが、当業者であっても存在しないとの判断がされた裁判例は、知的財産高等裁判所令和3年(行ケ)第10082号事件(甲11)、同平成28年(行ケ)第10103号事件(甲12)、同平成19年(行ケ)第10238号事件(甲13)、同平成18年(行ケ)第10251号(甲14)事件等、多数存在する。
(2)被告の主張
本願発明の容易想到性が肯定されるためには、主引用発明に、副引用例に記載された発明又は周知技術を組み合わせることについて、原則として動機付けがなければならないと解されるが、主引用発明に、その課題を解決するための技術の具体的適用に伴う設計変更や設計的事項を採用することによって本願発明に至る場合は、そのような設計変更や設計的事項の採用は、当業者の通常の創作能力の発揮にすぎないから、それについて特段の動機付けがなくても本願発明の容易想到性が認められるというべきである(知的財産高等裁判所令和4年(行ケ)第10007号同5年1月18日判決参照)。
念のため、動機付けの観点から検討するとしても、本件審決は上記1のとおり、引用発明及び周知技術について、人の歩行速度に応じた制御を行うという課題、人を検出し、人の歩行速度を演算するという作用・機能の共通性を挙げており、かつ、引用発明及び周知技術はいずれも乗客コンベアという技術分野においても共通しているのであるから、上記1に沿って、これらを総合的に考慮すれば、十分に動機付けがあるといえる。
判旨
(1)甲2構成が周知技術であるか否か
乙3、4及び甲2の記載は、本願出願前に公開され、いずれも「乗客コンベア」の技術分野に属するものであるから、本願の技術分野である当該分野において、甲2に記載の「乗り部(乗込み口1e)の第1定位置の人を検出する第1人検出部(第1投受光器30a)と、乗り部の第2定位置の人を検出する第2人検出部(第2投受光器30c)とを備え、処理装置(モータ制御装置50)は、人の歩行速度を第1人検出部及び第2人検出部の検出に基づいて演算する」技術(カッコ内は対応する甲2の記載)は、本願の出願時において、周知技術であると認められる。
(2)動機付け
周知技術である甲2構成は、人の歩行速度に応じた制御を行うために、甲2構成に記載された第1人検出部と第2人検出部を設けて人の歩行速度を演算するとの作用・機能を有しているのであるから、本願発明と同一の課題解決のための手段となり得る。そうすると、本願発明と引用発明との相違点1及び2に係る構成の差異を、この甲2構成の周知技術で代替することは、当業者の通常の創作能力の発揮に過ぎないものといえる。加えて、引用発明と甲2構成の周知技術とは、同一の課題解決原理に属し、作用機能も同一のものであるから、上記本願発明と引用発明との相違点1及び2に係る構成の差異を、甲2構成の周知技術で埋めることについての動機付けも存在する。
そうすると、本願発明は、引用発明から当業者において容易に想到し得たものであるということができ、本件審決が、本願発明に進歩性が欠如する旨判断したことに誤りはないというべきである。
甲11の裁判例は、相違点に係る構成の容易想到性につき、周知技術を適用する動機付けがあるとした上で、引用発明に周知技術の構成を加えると効果を損なうとの点を理由として容易想到性を否定したものであり、引用発明と本願発明とで共通する課題が別の解決手段によって既に解決していることは一つの事情として考慮されているに過ぎず、動機付けの有無の判断に当たって考慮されたものではない。
また、甲12の裁判例は、相違点に係る構成が、出願時に周知慣用の技術であったとは認められないとの判断が前提とされており、相違点に係る構成が周知技術である事案ではない。
甲13の裁判例は、既に独自の構成によって発明の目的を達成し本願発明にはみられない引用発明独自の効果を奏する引用発明に、更に相違点に係る構成を採用することは考え難いとする事案であって、甲14の裁判例も、枠部によってプリント回路板が強力に保持される引用発明に、この上更に、枠部が回路板を保持する力を強化することを目的として相違点に係る構成を採用することについて判断する事案であり、これら裁判例も、引用発明の課題解決手段を、同一の課題を解決して同一の作用効果を奏するものと替える事案ではない。
解説/検討
(1)周知技術の認定
審決において1つの文献で周知技術を認定し、訴訟の段階で証拠を補充することが許された。審査基準では「周知技術」は「その技術に関し、相当多数の刊行物…又はウェブページ等…が存在しているもの」とされているにもかかわらず、審査や拒絶査定不服審判において、1つの文献で周知技術を認定することが実務上はよく行われている。審査、審判の段階で周知技術の認定を争えず、この実務は疑問である。
(2)動機づけ
特許庁は動機付け不要との主張をしているが、判決は「動機付けも存在する」としており、動機付けが不要とまでは判断していない。
なお、特許庁が引用する知財高裁令和4年(行ケ)第10007号では「主引用発明に、副引用例に記載された発明又は周知技術を組み合わせることについて、原則として動機付けがなければならないと解される。しかし、主引用発明に、その課題を解決するための技術の具体的適用に伴う設計変更や設計的事項を採用することによって本願発明に至る場合は、そのような設計変更や設計的事項の採用は、当業者の通常の創作能力の発揮にすぎないから、それについて特段の動機付けがなくても本願発明の容易想到性が認められるというべきである。」(下線付加)とされている。
原告が挙げる裁判例等の概要は以下のとおり(いずれも下線付加)。本事件では動機付けが認められたが、引用発明の課題が既に解決されている場合には、副引例や周知技術を適用する動機付けが否定される場合もあると考えられる。
・令和3年(行ケ)第10082号(甲11)
引用発明においては、本願発明と共通する課題が本願発明とは異なる別の手段によって既に解決されているのであるから、当該課題解決手段に加えて、両線心をテープ部材で巻き、その結果、両線心とシースとの間にテープ部材が配置される構成とする必要はないというべきである。そして、引用発明に上記のような構成を加えると、線心を取り出そうとする際に、シースを除去する作業のみでは足りず、更にテープ部材を除去する作業が必要となることから、かえって作業性が損なわれ、引用発明が奏する効果を損なう結果となってしまうものといえる。
・平成28年(行ケ)第10103号(甲12)
引用発明は,前記1(2)アの本件発明の課題と共通する課題を…ようにした構成を採用することにより,既に解決しているということができるから,上記構成に加えて,あるいは,上記構成に換えて,ハンドル32を「捻った」部分を有するように構成する必要がない。
・平成19年(行ケ)第10238号(甲13)
引用発明は本願補正発明とは異なる上記構成を採用することにより,側溝躯体1側の接合面と側溝蓋8側の接合面との間の誤差を吸収するという発明の目的を達成しているものである。
そうすると,引用発明においては更に側溝蓋8の斜め移動を可能として自動調心作用を働かせる必要はなく,引用発明における「微小間隙G1」を拡げて蓋板の平行移動及び斜め移動を許容するものとする動機付けは存在しない。
・平成18年(行ケ)第10251号(甲14)
引用発明は,従来技術において,枠部(基板フレーム)がプリント回路板(配線基板)を保持する力が小さく,自動実装時にプリント回路板の脱落事故が発生することを解決すべき問題の一つとし,引用例1に記載された構成を採用することにより,プリント回路板が,枠部によって強力に保持されるものとした実装用基板であるから,引用発明には,この上更に,枠部が回路板を保持する力を強化することを目的として,引用例2の記載に係る,接着剤などを用いた仮止め部又は補強部を適用する必要があるとは認められない。
・平成31年(行ケ)第10005号(その他)
引用発明は…を課題として,同課題を…することによって解決したものであるから,…パラメータを『携帯通信端末に固有のネイティブ機能を実行するためのパラメータ』とする必要はない。
